2. 周口国家农高区现代农业产业研究院, 河南周口 466000;
3. 河南省乡村人居环境工程中心, 河南洛阳 471023;
4. 洛阳市共生微生物与绿色发展重点实验室, 河南洛阳 471023
2. Zhoukou National Agricultural High Area Modern Agricultural Industry Research Institute, Zhoukou, Henan 466000, China;
3. Henan Rural Human Settlements Engineering Center, Luoyang, Henan 471023, China;
4. Luoyang Key Laboratory of Symbiosis Microorganism and Green Development, Luoyang, Henan 471023, China
土壤微生物生物量是指土壤中活的微生物总量,主要是细菌、真菌和放线菌,一般包括微生物生物量碳(Soil microbial biomass carbon,SMBC)、微生物生物量氮、微生物生物量磷和微生物生物量硫,土壤微生物生物量的变化能敏感反映出土壤养分的变化,并有效表征土壤有机质的代谢强度。对土壤有机质的转化和循环产生直接贡献,并影响植物生长[1]。在有机碳库的形成过程中,作为土壤有机碳(Soil organic carbon,SOC)的重要组成部分,SMBC一般占土壤有机碳总量的1%~5%[2],占比较小,但由于直接参与了土壤生物化学过程,是重要的土壤有效养分储备库,其在土壤养分转化、有机物代谢及污染物的降解中发挥着非常重要的作用,被认为是整个生态系统养分和能量循环的关键和动力[3]。同时,SMBC也受多种因素的影响,如土壤因素,包括土壤深度、土壤养分与理化性质等[4]。衡涛等[5]研究还表明,气候因素也会对SMBC产生影响。
植物与土壤真菌之间存在多种相互作用,其中常见及最重要的是真菌-根共生体。在菌根共生体中,植物和菌根真菌二者互惠互利:菌根真菌改善其宿主植物的营养状况、影响生长发育、增强矿物质营养和水分的吸收以及抗病能力,而宿主植物为共生真菌提供生长和繁殖所必需的养分,二者达到一种互利互助、互通有无的高度统一[6]。根据宿主植物以及菌根真菌种类不同,菌根具有7种不同的类型,不同类型菌根的生态功能存在着显著差异[7],其中丛枝菌根(Arbuscular mycorrhiza,AM)和外生菌根(Ectomycorrhiza,ECM)作为最常见的菌根类型,具有最高的物种多样性和最广的地理分布,全球约80%的植物能与AM或ECM真菌形成共生关系[8]。AM和ECM的形态特征和生态功能存在较大差别。在AM中,真菌首先形成附着结构穿过根的细胞层,形成松散的细胞内线圈和分枝菌丝,最后到达内皮层细胞,并在细胞内产生树状的丛枝。在ECM中,菌丝不伸入根部细胞,在表皮细胞之间发育,菌丝体紧密地包围植物幼嫩的根,形成菌套,有的向周围土壤伸出菌丝,代替根毛的作用。
AM和ECM植被在地上生物量中的碳储量分别为241.0和100.0 Gt,而非菌根植被的碳储量仅有29.0 Gt[9],菌根真菌在陆地生态系统碳循环过程中发挥着重要作用。Awad等[10]研究表明,菌根真菌生物量是土壤碳库重要的来源之一。菌根真菌的菌丝作为土壤中重要的碳源,ECM真菌的菌丝贡献了总微生物生物量碳的32%,并贡献了地下碳库总输入量的50%~60%[11],虽然AM真菌根外菌丝数量少,但其周转速率是ECM菌丝的几十倍[12],且菌根真菌的生物量大小影响SOC的含量,而SMBC作为SOC的重要组成部分[13],菌根菌丝有可能会影响SMBC,但AM和ECM对SMBC的影响区别尚不明确。目前关于不同菌根类型对SMBC分布的影响研究较少。因此本研究基于以往的一些研究资料以及数据库,通过分析数据库中土壤因素和环境因素与SMBC的相关系数,进而探讨菌根类型对SMBC的分布影响及可能影响因素。该数据分析结果为研究菌根类型影响SMBC或SOC如何沿着土壤剖面变化提供了理论依据,将有助于预测全球变化下菌根真菌影响陆地生态系统SMBC和SOC的动向。
1 材料与方法 1.1 数据的获取与整理本研究所用数据集来自Sun等[14]通过收集Web of Science和中国知网(1970—2019)建立的数据库。该数据集是关于五大洲SOC、SMBC和土壤微生物熵(Soil microbial quotient,SMQ = SMBC/SOC,%)的垂直分布及其与环境因子的关系,数据集包含289份土壤剖面和943份不同土层的观测资料,用于文献检索的关键词是“微生物生物量”、“土壤深度”、“土壤剖面”、“深层土壤”和“垂直分布”。所收集的相关环境数据包括气候、生态系统类型和地理因子,如年平均温度(Mean annual temperature,MAT)、年平均降水量(Mean annual precipitation,MAP)、土壤全氮(Soil total nitrogen,STN)、土壤微生物生物量碳(SMBC)和土壤有机碳(SOC)等。该数据集的所有数据均满足两个条件:1)沿土壤剖面至少存在3个矿质土层;2)SMBC采用熏蒸提取方法测量。MAT、MAP、土壤深度、有机碳和SMBC数据来自289个土壤剖面,STN数据来自153个土壤剖面。将所有变量的单位转换为国际标准单位或常用单位,并进行相应的数值转换。
1.2 数据处理根据已发表文献确定菌根类型的方法,如Zhang等[15],确定了数据库中943个样本的菌根类型(其中有792个AM植物和149个ECM植物),并将所有数据分为0~100 cm、0~40 cm土层和40~100 cm土层进行分析。为确定不同土层SMBC在不同菌根类型间的差异,采用SPSS 26.0软件对不同菌根类型和不同土层对SMBC的影响进行双因素方差分析(two-way ANOVA),基于SPSS的分析结果,利用Graph prism 9.5软件作图。为了进一步明确不同菌根类型植物不同土层SMBC与土壤因子(STN)和气候因子(MAT、MAP)的关系,采用R软件包“vegan”进行方差分解分析(VPA)。VPA分析将不同因子(气候、土壤、菌根类型)的总方差分为各因子的独立影响和各因子的交互效应。最后,利用SPSS 26.0软件进行双变量相关分析,用R 4.4.1进行结构方程模型(Structural equation model,SEM)拟合,并根据Hooper等[16]关于SEM拟合的指导方法确定SEM拟合情况是否成立,基于分析结果利用Microsoft PowerPoint进行作图,分别建立土壤因素、气候因素关于两种菌根状态的结构方程模型,以探明不同菌根类型植物的不同土层SMBC含量受土壤和气候因子的影响。
2 结果 2.1 不同菌根类型植物土壤微生物生物量碳含量及其垂直分布AM和ECM植物SMBC含量,随着土壤垂直深度的增加,受到菌根类型的影响有所差异(图 1)。0~100 cm土层,AM植物SMBC含量(233.1 mg·kg–1)显著低于ECM植物SMBC含量(264.1 mg·kg–1)。在0~40 cm土层,AM植物SMBC含量(255.7 mg·kg–1)与ECM植物SMBC含量(328.3 mg·kg–1)存在显著差异,而在40~100 cm土层,AM植物SMBC含量与ECM植物无显著差异。可见浅土层SMBC受菌根类型影响明显,而深土层则影响不明显。进一步分析不同菌根类型SMBC随土层深度变化的分布规律,表明虽然AM和ECM植物SMBC含量在0~100 cm土层中均呈现显著下降趋势,但两种菌根类型的影响主要体现在40~100 cm的土层,表现为AM植物SMBC含量随土层加深而显著下降,ECM植物则无显著变化(图 2)。双因素分析的结果却表明,菌根类型和土壤深度变化对SMBC含量存在不同程度的影响,两者未呈现出交互作用(表 1)。
|
注:白色虚线为中位数,两条白线为95%置信区间,黑色空心三角形和黑色虚线表示AM,灰色空心方形和灰色虚线表示ECM。ns表示不同菌根类型间无显著差异,*表示P < 0.05水平差异显著,***表示P < 0.01水平差异显著。下同。 Note: The white dotted line is the median, and the two white lines are the 95% confidence interval. The black hollow triangle and black dotted line represent AM, and the gray hollow square and gray dotted line represent ECM. "ns" represents no significant difference between AM and ECM; * and *** represent significant difference at 0.05 and 0.01 level. The same below. 图 1 不同菌根类型植物土壤微生物生物量碳含量 Fig. 1 Soil microbial biomass carbon content of plants of different mycorrhizal types |
|
图 2 不同菌根类型植物土壤微生物生物量碳含量的垂直分布 Fig. 2 Vertical distribution of soil microbial biomass carbon content of plants of different mycorrhizal types |
|
|
表 1 菌根类型和土壤深度对土壤微生物生物量碳的双因素方差分析(F值) Table 1 Effects of mycorrhizal type and soil depth on soil microbial biomass carbon on a two-way ANOVA analysis (F value) |
AM和ECM植物土壤中的SOC含量,随着土壤垂直深度的增加,受到菌根类型的影响有所差异(图 3)。0~100 cm土层,AM植物土壤中的SOC含量(12.37 g·kg–1)与ECM植物土壤(11.41 g·kg–1)无明显差异(图 3a)。在0~40 cm土层,AM植物土壤中的SOC含量(13.29 g·kg–1)与ECM植物土壤中的SOC含量(14.05 g·kg–1)无明显差异(图 3b),而在40~100 cm土层,AM植物土壤中的SOC含量(6.534 g·kg–1)显著高于ECM植物土壤中的SOC含量(4.210 g·kg–1)(图 3c)。进一步分析不同菌根类型SOC含量随土层深度变化的分布规律,AM和ECM植物土壤中的SOC含量在0~100 cm土层中均呈现显著下降的趋势,但两种菌根类型的影响主要体现在40~100 cm土层,表现为AM植物土壤中的SOC含量随土层加深而显著下降,ECM植物则无显著变化(图 4)。从AM和ECM植物土壤的SMQ,即SMBC/SOC来看,在0~100 cm的土层中,两种菌根类型间存在显著的差异,分别为3.029%和4.122%(图 5a);而进一步将0~100 cm的土层,分为0~40 cm和40~100 cm两层,则表明两种菌根类型间的SMQ差异,主要来自于0~40 cm土层的贡献(图 5)。在0~40 cm土层中,AM植物土壤的SMQ为3.216%,显著低于ECM植物土壤的4.794%(图 5b);而40~100 cm土层中,AM和ECM土壤的SMQ则差异不显著(图 5c)。从不同土层中SMQ的变化范围,也表明AM和ECM土壤SMQ的差异,主要由0~40 cm的土层决定的。可见,随着土层深度增加,菌根类型对SMQ的影响减弱。
|
图 3 不同菌根类型植物土壤有机碳含量 Fig. 3 Soil organic carbon content of plants of different mycorrhizal types |
|
图 4 不同菌根类型植物土壤有机碳的垂直分布 Fig. 4 Vertical distribution of soil organic carbon content of plants of different mycorrhizal types |
|
图 5 不同菌根类型植物土壤微生物熵 Fig. 5 Soil microbial quotient of plants of different mycorrhizal types |
SMBC含量受环境因子(STN、MAT和MAP)的影响,也因菌根类型的不同而存在一定的差异(图 6)。无论是AM还是ECM植物土壤,其SMBC含量均随STN的增加而增大,但从0~100 cm土层总体来看,ECM的增幅则高于AM,每增加1 g·kg–1的STN,ECM和AM植物土壤的SMBC分别增加114.57和89.74 mg·kg–1(图 6a);进一步将土层分为0~40 cm和40~100 cm进行分析则表明,0~40 cm土层中SMBC含量受STN的影响规律与0~100 cm土层一致(图 6b),而在40~100 cm土层中却呈现出完全相反的变化规律,即AM植物土壤SMBC含量随STN含量增加的速率远远高于ECM植物土壤(图 6c)。MAT和MAP对SMBC含量的影响,随AM和ECM类型的不同,0~100 cm和0~40 cm土层中均体现不明显(图 6d、图 6e、图 6g、图 6h),而在40~100 cm土层则较为显著,且MAT和MAP的影响趋势一致(图 6f、图 6i)。
|
图 6 环境因子对不同菌根类型植物土壤微生物生物量碳的影响 Fig. 6 Effects of environmental factors on soil microbial biomass carbon of plants of different mycorrhizal types |
进一步综合分析土壤因子(土壤深度、STN)和气候因子(MAT、MAP)对AM和ECM植物SMBC含量影响的差异(图 7),可知,在0~100 cm土层中,ECM植物的SMBC含量受土壤因子的独立影响(52.24%)大于AM植物(49.75%),而气候因子对AM和ECM植物SMBC的影响规律则恰恰相反,表现为对AM类型影响较高;土壤因子和气候因子的交互作用,则因为菌根类型的不同而呈现出正向和负向截然相反的不同影响(图 7a)。对0~40 cm和40~100 cm两个土层分析可知,无论在哪个土层,土壤和气候因子对SMBC的影响均随菌根类型的不同而存在差异;具体表现为:在两个土层中,气候因子对ECM的影响均大于AM;而土壤因子以及二者(土壤和气候因子)的交互作用对AM和ECM类型的影响在2个土层中的规律则完全相反(图 7a、图 7b)。
|
注:黑色字体代表AM,灰色字体代表ECM。实线和虚线圆圈分别代表土壤因子(土壤深度、土壤全氮)和气候因子(年平均温度、年平均降水量)的独立影响。图中数值R2表示气候和土壤因子对土壤微生物生物量碳含量影响的贡献率(%)。 Note: The black font represents AM, and the gray font represents ECM. The solid line and dotted circles represent the independent influence of soil factors (soil depth, soil total nitrogen) and climate factors (mean annual temperature, mean annual precipitation) respectively. The value of R2 indicate contribution rate of the influence of climate and soil factors on soil microbial biomass carbon (%). 图 7 环境因子对不同菌根类型植物土壤微生物生物量碳影响的方差分解分析 Fig. 7 Results of variation partitioning analysis for the effects of environmental factors on soil microbial biomass carbon of plants of different mycorrhizal types |
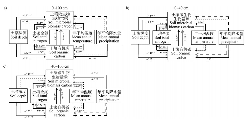
在0~100 cm土层,无论AM还是ECM,土壤深度、STN、SOC和MAT均显著影响SMBC含量,且因菌根状态不同,其影响路径也不同(图 8a)。在0~40 cm土层,MAT显著影响AM类型的SMBC含量,与ECM类型没有显著相关关系(图 8b);而在40~100 cm土层中却呈现出完全相反的变化规律,即MAT显著影响ECM类型的SMBC含量(图 8c)。由SEM拟合指数[16]可知,模型与数据之间没有差异,P > 0.05,CFI接近或者大于0.95,RMSEA≤0.08,SRMR≤0.08,即表示模型拟合良好,模型成立(表 2)。
|
注:黑线带实心箭头代表AM,灰线带空心箭头代表ECM;实线代表影响显著,虚线代表影响不显著;粗线代表正向影响,细线代表负向影响。 Note: The black line with a solid arrow represents AM, and the gray line with a hollow arrow represents ECM. The solid line represents the significant impact, and the dotted line represents the impact. The thick line represents the positive impact, and the thin line represents the negative impact. 图 8 环境因子对不同菌根类型植物土壤微生物生物量碳的影响机制 Fig. 8 Mechanisms of the influence of environmental factors on soil microbial biomass carbon of plants of different mycorrhizal types |
|
|
表 2 结构方程模型拟合指数 Table 2 Structural equation model fitting indices |
0~40 cm土层,ECM植物土壤中的SMBC含量显著高于AM植物土壤(图 1),存在差异的因素可能是不同菌根类型的菌丝生物量及其分泌物和对土壤团聚体的影响的差异所导致的[17]。菌根真菌的根外菌丝本身就是土壤中重要的碳源,团聚体的物理保护作用所导致的生物与有机碳的空间隔离,是SOC重要稳定机制之一[18]。菌根真菌对于土壤团聚体有促进作用,菌丝通过缠绕和胶结土壤颗粒形成土壤团聚体以减少有机碳分解[19]。而SMBC含量与SOC含量具有显著的相关性,在一定条件下,土壤有机质含量越高,土壤中SMBC含量就越高[20]。有研究认为,相比于ECM,AM根外菌丝数量较少,ECM真菌根外菌丝对于土壤碳汇的贡献大于AM真菌[18]。因此推测促进土壤团聚体的形成有可能会影响SMBC含量。本研究发现ECM和AM植物土壤中的SMBC含量会随着SOC含量增加而增加,与Xue等[20]的研究一致。
本研究结果表明,0~40 cm土层,AM植物土壤中SOC含量低于ECM植物土壤(图 3b),与Barceló等[21]和Li等[22]的研究结果相同。基于中国大陆森林的数据整合分析发现,尽管凋落物碳输入在AM植物更高,但是AM比ECM植物SOC的含量更低,可能是由于AM植物更高的土壤呼吸和凋落物分解速率导致[23]。微生物是土壤有机质最重要的分解者之一,不同菌根植物可能通过调控局部土壤营养状况和植物碳输入而直接影响微生物对SOC的分解。由于AM和ECM真菌养分获取策略不同,ECM植物土壤微生物的活性相比于AM植物受限,ECM植物比AM植物的SOC分解速率更慢[7]。40~100 cm土层,AM植物土壤中SOC含量显著高于ECM植物(图 3c),可能是由于AM植物的凋落物质量较高[22-23],有利于微生物合成代谢,因此可提高SMBC利用效率[24]。有研究认为,相比于AM植物,ECM植物的地下碳输入更大[25],这导致ECM植物周围的微生物对根际SOC的分解表现出更强的激发效应,因此ECM植物SOC分解应当更快[26]。又因为本研究结果显示,SMBC含量与SOC含量具有显著的相关性(图 5,图 8),因此菌根类型可能通过对SOC的影响间接影响SMBC。
3.2 土壤气候因素在不同菌根类型作用下对土壤微生物生物量碳的影响土壤微生物生物量变化受土壤环境(水分和温度)和养分等共同影响,且这些土壤因子随气候变化而变化。本研究中,不同菌根类型的SOC和STN均是影响SMBC含量的主导因子(图 8),这与以往相关的研究结果一致[27]。胡嵩等[28]对温带森林的研究结果:SMBC与SOC(R=0.934)和土壤氮(R=0.963)之间呈极显著正相关,也与本研究结论类似。作为微生物代谢能量和营养的基本来源,SOC与SMBC显著正相关。Chen等[29]在热带季雨林中的研究,也显示SMBC含量随着SOC和STN含量的增加而提高;付志高等[30]对南亚热带SMBC影响因子的研究表明,SMBC含量与SOC和速效氮显著正相关,是影响微生物生物量碳氮变化的主导因子。本研究结果显示,ECM植物土壤中的SMBC含量受STN影响较AM植物受STN影响明显(图 6),可能原因是全球尺度上,AM植物凋落物层氮储量小于ECM,其差异不显著,且由于AM土壤微生物的氮限制程度比ECM小,氮添加促进AM土壤硝酸盐淋溶的程度大于ECM[31],导致更多的氮损失。不同菌根类型树种通过土壤有机质、土壤pH、矿物风化等非生物因素对土壤氮、磷有效性产生影响。不同菌根类型树种通过影响凋落物分解和土壤微生物对土壤有机质产生影响而影响土壤氮、磷有效性,ECM树种细根、菌丝对矿物风化作用的促进作用更强,加速养分循环。ECM树种凋落物分解慢致使有机酸积累,因此土壤pH低于AM树种,ECM树种土壤较低的pH通过直接作用(降低氮、磷有效性)和间接作用(促进矿物风化)影响土壤氮、磷有效性[32]。
菌根不仅能参与生态系统的碳循环,还能影响森林生态系统对气候变化的响应。Vargas等[33]研究表明,生态系统中CO2通量对温度和降水变化的响应与菌根类型和植物类型密切相关。气候因素、土壤物理性质和养分供应等均会改变植物或菌根群落以及植物-菌根的共生关系,影响植物光合碳向土壤中的流动,间接或直接影响SOC的形成,进而影响SMBC含量。进一步分析表明,0~40 cm土壤深度,AM和ECM土壤因素对SMBC的影响均大于气候因素(图 7b),这一结果与Hu等[34]的研究结果一致。而40~100 cm土层,ECM植物土壤中,土壤因素对SMBC含量的影响小于气候因素(图 7c),气候和植物因素可能通过影响土壤因素间接地作用于SMBC含量[30],因此造成土壤因素表现出最强的直接影响。本研究结果显示,0~40 cm土层,AM植物土壤中的MAT和MAP通过显著影响SOC含量来影响SMBC含量,而与SMBC无直接作用关系(图 8b),40~100 cm土层,AM和ECM植物土壤中,土壤和气候因子直接影响SMBC含量。降水量直接影响土壤水分含量,土壤水分又直接影响土壤气体交换、微生物养分供应和温度,因此MAP可能通过影响土壤水分间接影响SMBC含量;温度变化对SMBC含量影响不大[5],这与本文结果一致(图 8b)。有研究指出,陆地温度、大气CO2浓度的变化引起土壤温度的改变,可以直接影响微生物的代谢速率,同时,温度的改变可造成植物生长变化、地上部分碳输入功能转变、土壤水分和养分变动,间接调控SMBC含量[35]。
4 结论外生菌根植物土壤SMBC含量高于丛枝菌根植物土壤,且菌根类型的影响主要作用于0~40 cm的浅层土壤。在0~40 cm浅层土壤,虽然菌根类型影响了气候和土壤因子的作用,但无论是丛枝菌根还是外生菌根类型,SMBC含量均主要受土壤因子的影响;而在40~100 cm的深层土壤中,土壤因子相对于气候因子对丛枝菌根植物SMBC含量的影响起到更大作用,气候因子的作用则对两种菌根类型发挥相反的作用,即气候因子在深层土壤能更多的影响外生菌根植物的SMBC含量。
| [1] |
He X J, Hou E Q, Veen G F, et al. Soil microbial biomass increases along elevational gradients in the tropics and subtropics but not elsewhere[J]. Global Ecology and Biogeography, 2020, 29(2): 345-354. DOI:10.1111/geb.13017
( 0) |
| [2] |
Sun T T, Wang Y G, Hui D F, et al. Soil properties rather than climate and ecosystem type control the vertical variations of soil organic carbon, microbial carbon, and microbial quotient[J]. Soil Biology & Biochemistry, 2020, 148: 107905.
( 0) |
| [3] |
Li Y M, Hu C J, Wang S L, et al. Function and application of soil microorganisms in forest ecosystem (In Chinese)[J]. Chinese Journal of Applied Ecology, 2004, 15(10): 1943-1946. [李延茂, 胡江春, 汪思龙, 等. 森林生态系统中土壤微生物的作用与应用[J]. 应用生态学报, 2004, 15(10): 1943-1946.]
( 0) |
| [4] |
Wardle D A. A comparative assessment of factors which influence microbial biomass carbon and nitrogen levels in soil[J]. Biological Reviews, 1992, 67(3): 321-358. DOI:10.1111/j.1469-185X.1992.tb00728.x
( 0) |
| [5] |
Heng T, Wu J G, Xie S Y, et al. The responses of soil C and N, microbial biomass C or N under alpine meadow of Qinghai-Tibet Plateau to the change of temperature and precipitation (In Chinese)[J]. Chinese Agricultural Science Bulletin, 2011, 27(3): 425-430. [衡涛, 吴建国, 谢世友, 等. 高寒草甸土壤碳和氮及微生物生物量碳和氮对温度与降水量变化的响应[J]. 中国农学通报, 2011, 27(3): 425-430.]
( 0) |
| [6] |
Smith S E, Read D J. Mycorrhizal symbiosis . 3rd ed[M]. London: Academic Press, 2008.
( 0) |
| [7] |
Averill C, Turner B L, Finzi A C. Mycorrhiza-mediated competition between plants and decomposers drives soil carbon storage[J]. Nature, 2014, 505(7484): 543-545. DOI:10.1038/nature12901
( 0) |
| [8] |
Anthony M A, Crowther T W, van der Linde S, et al. Forest tree growth is linked to mycorrhizal fungal composition and function across Europe[J]. The ISME Journal, 2022, 16: 1327-1336. DOI:10.1038/s41396-021-01159-7
( 0) |
| [9] |
Soudzilovskaia N A, van Bodegom P M, Terrer C, et al. Global mycorrhizal plant distribution linked to terrestrial carbon stocks[J]. Nature Communications, 2019, 10(1): 5077. DOI:10.1038/s41467-019-13019-2
( 0) |
| [10] |
Awad A, Majcherczyk A, Schall P, et al. Ectomycorrhizal and saprotrophic soil fungal biomass are driven by different factors and vary among broadleaf and coniferous temperate forests[J]. Soil Biology & Biochemistry, 2019, 131: 9-18.
( 0) |
| [11] |
Soudzilovskaia N A, van der Heijden M G A, Cornelissen J H C, et al. Quantitative assessment of the differential impacts of arbuscular and ectomycorrhiza on soil carbon cycling[J]. New Phytologist, 2015, 208(1): 280-293. DOI:10.1111/nph.13447
( 0) |
| [12] |
Staddon P L, Ramsey C B, Ostle N, et al. Rapid turnover of hyphae of mycorrhizal fungi determined by AMS microanalysis of 14C[J]. Science, 2003, 300(5622): 1138-1140. DOI:10.1126/science.1084269
( 0) |
| [13] |
Tu J Y, Jin W H, Sheng W X, et al. The change in dominant mycorrhizal fungi type induced by stand transformation affects soil organic carbon accumulation (In Chinese)[J]. Acta Pedologica Sinica, 2024, 61(1): 223-234. DOI:10.11766/trxb202206210271 [屠嘉莹, 金文豪, 盛卫星, 等. 林分改变驱动的优势菌根真菌类型变化影响土壤有机碳积累[J]. 土壤学报, 2024, 61(1): 223-234.]
( 0) |
| [14] |
Sun T T, Wang Y G, Hui D F, et al. Vertical distributions of soil microbial biomass carbon: A global dataset[J]. Data in Brief, 2020, 32: 106147. DOI:10.1016/j.dib.2020.106147
( 0) |
| [15] |
Zhang M H, Shi Z Y, Zhang S, et al. A database on mycorrhizal traits of Chinese medicinal plants[J]. Frontiers in Plant Science, 2022, 13: 840343. DOI:10.3389/fpls.2022.840343
( 0) |
| [16] |
Hooper D, Coughlan J, Mullen M R. Structural equation modelling: Guidelines for determining model fit[J]. Electronic Journal of Business Research Methods, 2008, 6(1): 53-60.
( 0) |
| [17] |
Ma X C, Jin W H, Tu J Y, et al. Impact of shifts among mycorrhizal types on soil aggregate composition and characteristics (In Chinese)[J]. Journal of Zhejiang A & F University, 2023, 40(6): 1149-1157. [马行聪, 金文豪, 屠嘉莹, 等. 不同优势菌根类型转变对土壤团聚体组成及性状的影响[J]. 浙江农林大学学报, 2023, 40(6): 1149-1157.]
( 0) |
| [18] |
Jin W H, Shao S, Chen J H, et al. Research progress in the impact of different mycorrhizal types on soil carbon cycling (In Chinese)[J]. Journal of Zhejiang A & F University, 2021, 38(5): 953-962. [金文豪, 邵帅, 陈俊辉, 等. 不同类型菌根对土壤碳循环的影响差异研究进展[J]. 浙江农林大学学报, 2021, 38(5): 953-962.]
( 0) |
| [19] |
Zheng W S, Morris E K, Rillig M C. Ectomycorrhizal fungi in association with Pinus sylvestris seedlings promote soil aggregation and soil water repellency[J]. Soil Biology & Biochemistry, 2014, 78: 326-331.
( 0) |
| [20] |
Xue Y L, Li C Y, Wang Y, et al. Effects of agricultural utilization on soil carbon, nitrogen content, and microbial biomass in Mu Us Sandy Land (In Chinese)[J]. Journal of Agro-Environment Science, 2020, 39(10): 2325-2335. [薛英龙, 李春越, 王益, 等. 农业利用对毛乌素沙地土壤碳氮含量及微生物量的影响[J]. 农业环境科学学报, 2020, 39(10): 2325-2335.]
( 0) |
| [21] |
Barceló M, van Bodegom P M, Tedersoo L, et al. Mycorrhizal tree impacts on topsoil biogeochemical properties in tropical forests[J]. Journal of Ecology, 2022, 110(6): 1271-1282. DOI:10.1111/1365-2745.13868
( 0) |
| [22] |
Li J W, Shangguan Z P, Deng L. Variations of belowground C and N cycling between arbuscular mycorrhizal and ectomycorrhizal forests across China[J]. Soil Research, 2020, 58(5): 441-451. DOI:10.1071/SR19377
( 0) |
| [23] |
Wang X Q, Wang C K, Zhang, T D. New perspectives on forest soil carbon and nitrogen cycling processes: Roles of arbuscular mycorrhizal versus ectomycorrhizal tree species (In Chinese)[J]. Chinese Journal of Plant Ecology, 2017, 41(10): 1113-1125. [王薪琪, 王传宽, 张泰东. 森林土壤碳氮循环过程的新视角: 丛枝与外生菌根树种的作用[J]. 植物生态学报, 2017, 41(10): 1113-1125.]
( 0) |
| [24] |
Liang C, Schimel J P, Jastrow J D. The importance of anabolism in microbial control over soil carbon storage[J]. Nature Microbiology, 2017, 2: 17105. DOI:10.1038/nmicrobiol.2017.105
( 0) |
| [25] |
Gill A L, Finzi A C. Belowground carbon flux links biogeochemical cycles and resource-use efficiency at the global scale[J]. Ecology Letters, 2016, 19(12): 1419-1428. DOI:10.1111/ele.12690
( 0) |
| [26] |
Sulman B N, Brostek E R, Medici C, et al. Feedbacks between plant N demand and rhizosphere priming depend on type of mycorrhizal association[J]. Ecology Letters, 2017, 20(8): 1043-1053. DOI:10.1111/ele.12802
( 0) |
| [27] |
Zhou Z H, Wang C K. Reviews and syntheses: Soil resources and climate jointly drive variations in microbial biomass carbon and nitrogen in China's forest ecosystems[J]. Biogeosciences, 2015, 12(22): 6751-6760. DOI:10.5194/bg-12-6751-2015
( 0) |
| [28] |
Hu S, Zhang Y, Shi R J, et al. Temporal variations of soil microbial biomass and enzyme activities during the secondary succession of primary broadleaved-Pinuskoraiensis forests in Changbai Mountains of Northeast China (In Chinese)[J]. Chinese Journal of Applied Ecology, 2013, 24(2): 366-372. [胡嵩, 张颖, 史荣久, 等. 长白山原始红松林次生演替过程中土壤微生物生物量和酶活性变化[J]. 应用生态学报, 2013, 24(2): 366-372.]
( 0) |
| [29] |
Chen J, Seven J, Zilla T, et al. Microbial C∶N∶P stoichiometry and turnover depend on nutrients availability in soil: A 14C, 15N and 33P triple labelling study[J]. Soil Biology & Biochemistry, 2019, 131: 206-216.
( 0) |
| [30] |
Fu Z G, Xiao Y H, Xu H, et al. Inter-annual dynamics of soil microbial biomass carbon and nitrogen in subtropical evergreen broad-leaved forest and its environmental impact factors (In Chinese)[J]. Acta Ecologica Sinica, 2024, 44(3): 1092-1103. [付志高, 肖以华, 许涵, 等. 南亚热带常绿阔叶林土壤微生物生物量碳氮年际动态特征及其影响因子[J]. 生态学报, 2024, 44(3): 1092-1103.]
( 0) |
| [31] |
Phillips L A, Ward V, Jones M D. Ectomycorrhizal fungi contribute to soil organic matter cycling in sub-boreal forests[J]. The ISME Journal, 2014, 8(3): 699-713. DOI:10.1038/ismej.2013.195
( 0) |
| [32] |
Su Y J, Yang K, Zhang Q, et al. Research progress on soil nitrogen and phosphorus availability and influencing factors of different mycorrhizal tree species (In Chinese)[J]. Chinese Journal of Ecology, 2024, 43(7): 2208-2221. [苏颖佳, 杨凯, 张乾, 等. 不同菌根类型树种土壤氮、磷有效性特征及影响因素研究进展[J]. 生态学杂志, 2024, 43(7): 2208-2221.]
( 0) |
| [33] |
Vargas R, Baldocchi D D, Querejeta J I, et al. Ecosystem CO2 fluxes of arbuscular and ectomycorrhizal dominated vegetation types are differentially influenced by precipitation and temperature[J]. New Phytologist, 2010, 185(1): 226-236. DOI:10.1111/j.1469-8137.2009.03040.x
( 0) |
| [34] |
Hu Y J, Xiang D, Veresoglou S D, et al. Soil organic carbon and soil structure are driving microbial abundance and community composition across the arid and semi-arid grasslands in northern China[J]. Soil Biology & Biochemistry, 2014, 77: 51-57.
( 0) |
| [35] |
Xu M P, Ren C J, Zhang W, et al. Responses mechanism of C∶N∶P stoichiometry of soil microbial biomass and soil enzymes to climate change (In Chinese)[J]. Chinese Journal of Applied Ecology, 2018, 29(7): 2445-2454. [许淼平, 任成杰, 张伟, 等. 土壤微生物生物量碳氮磷与土壤酶化学计量对气候变化的响应机制[J]. 应用生态学报, 2018, 29(7): 2445-2454.]
( 0) |
2025, Vol. 62



0)